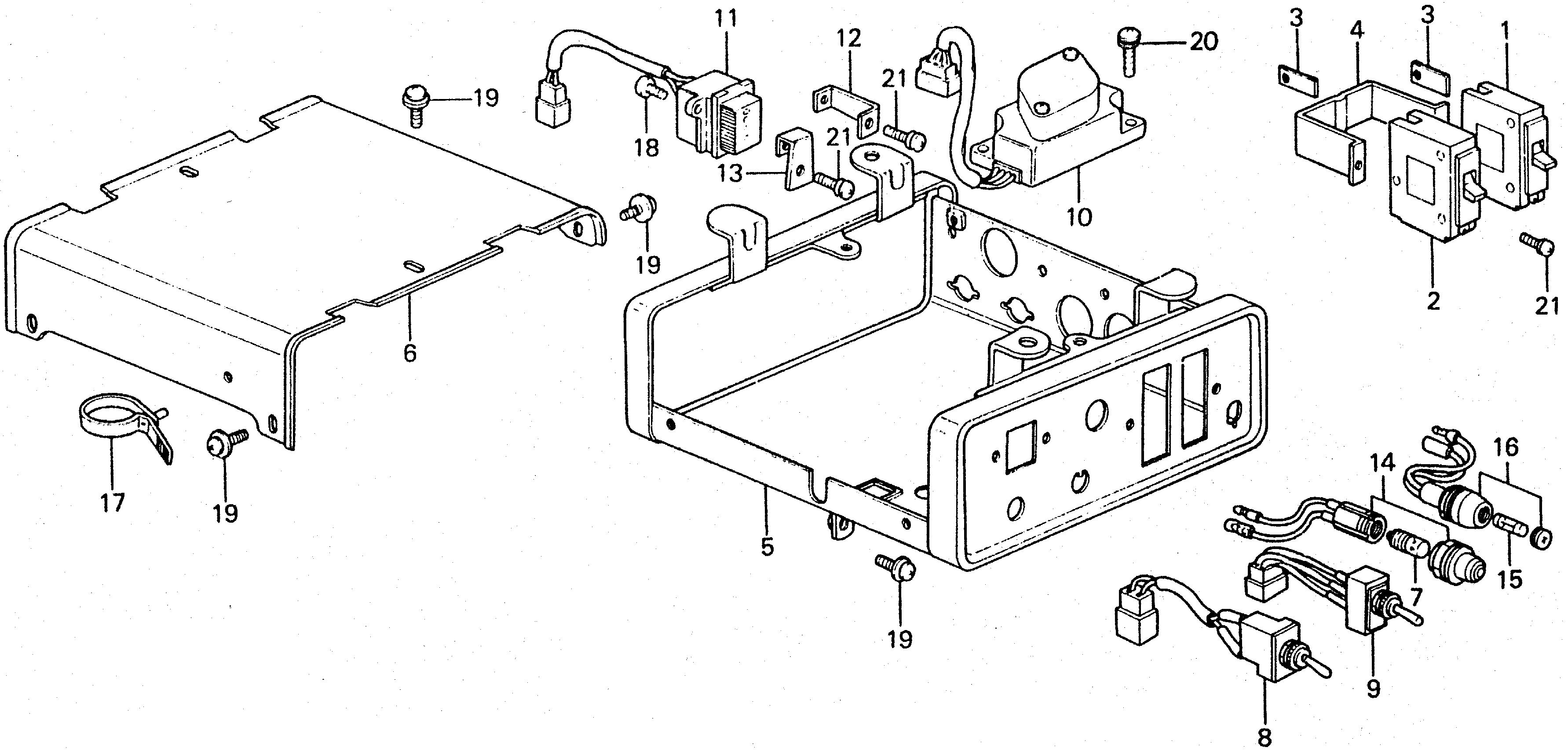
Generators E E4500 E4500 A E4500-1000006-1020225 E45000 CIRCUIT BREAKER@CONTROL UNIT - Dutchess Recreational Vehicles

Ref No
Part Number
Description
Serial Range
Qty
Price

Ref No
1
Part Number
31411-893-680
Description
BREAKER, CIRCUIT (18A) (NOT AVAILABLE)
Serial Range
1117942 - 9999999

Ref No
2
Part Number
31412-893-680
Description
BREAKER, CIRCUIT (37A) (NOT AVAILABLE)
Serial Range
1000001 - 9999999

Ref No
3
Part Number
31414-880-000
Description
TERMINAL, BREAKER
Serial Range
1000001 - 9999999
Qty
Price
$18.38

Ref No
4
Part Number
31415-880-000
Description
SUPPORT, BREAKER (NOT AVAILABLE)
Serial Range
1000001 - 9999999

Ref No
5
Part Number
31450-893-680H
Description
BOX, CONTROL *R8* (BRIGHT RED)
Serial Range
1000001 - 9999999

Ref No
6
Part Number
31455-893-010H
Description
COVER, CONTROL BOX (UPPER) *R8* (BRIGHT RED)
Serial Range
1000001 - 9999999

Ref No
7
Part Number
34909-880-000
Description
BULB, DASH (24V-2W)
Serial Range
1000001 - 9999999
Qty
Price
$8.34

Ref No
8
Part Number
35400-893-000
Description
SWITCH ASSY., IDLE CONTROL
Serial Range
1000001 - 9999999
Qty
Price
$60.80

Ref No
9
Part Number
36100-893-000
Description
SWITCH ASSY., ENGINE (NOT AVAILABLE)
Serial Range
1000001 - 9999999

Ref No
10
Part Number
36210-893-013
Description
CONTROL UNIT (NOT AVAILABLE)
Serial Range
1000001 - 9999999

Ref No
11
Part Number
37500-893-000
Description
METER, FREQUENCY (NOT AVAILABLE)
Serial Range
1000001 - 9999999

Ref No
12
Part Number
37501-893-010
Description
HOLDER A, FREQUENCY METER
Serial Range
1000001 - 9999999

Ref No
13
Part Number
37502-893-000
Description
HOLDER B, FREQUENCY METER
Serial Range
1000001 - 9999999

Ref No
14
Part Number
37560-ZA0-003
Description
SOCKET ASSY., PILOT LAMP
Serial Range
1000001 - 9999999
Qty
Price
$35.32

Ref No
15
Part Number
38201-880-000
Description
FUSE (15A)
Serial Range
1000001 - 9999999
Qty
Price
$3.64

Ref No
16
Part Number
38210-893-680
Description
HOLDER ASSY., FUSE
Serial Range
1000001 - 9999999

Ref No
17
Part Number
90669-671-003
Description
STRAP B, CABLE (125MM) (BLUE)
Serial Range
1000001 - 9999999

Ref No
18
Part Number
93500-03008-0H
Description
SCREW, PAN (3X8)
Serial Range
1000001 - 9999999
Qty
Price
$0.90

Ref No
19
Part Number
93891-05012-08
Description
SCREW-WASHER (5X12)
Serial Range
1000001 - 9999999
Qty
Price
$1.40

Ref No
20
Part Number
93891-06016-08
Description
SCREW-WASHER (6X16)
Serial Range
1000001 - 9999999
Qty
Price
$1.50

Ref No
21
Part Number
93892-04012-08
Description
SCREW-WASHER (4X12)
Serial Range
1000001 - 9999999
Qty
Price
$0.78