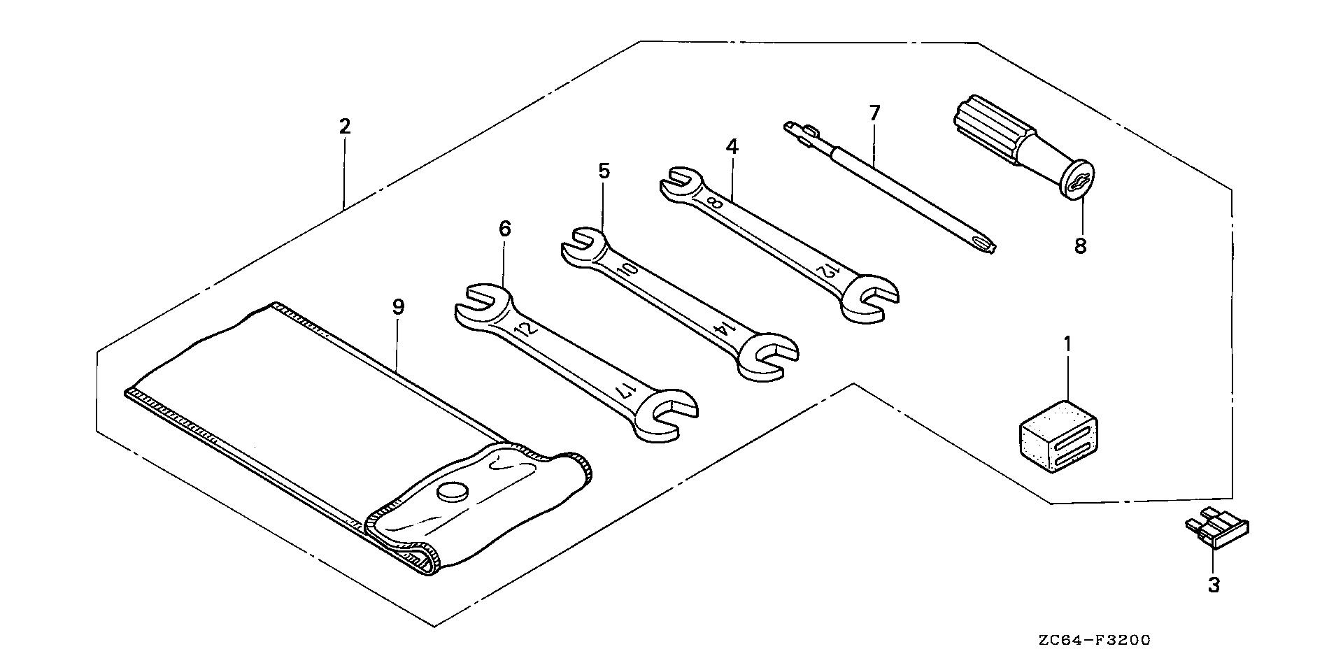
Generators EB EB12 EB12D A ECD-1000001-1099999 TOOLS - Dutchess Recreational Vehicles

Ref No
Part Number
Description
Serial Range
Qty
Price

Ref No
1
Part Number
38306-KK4-000
Description
SUSPENSION, TURN SIGNAL RELAY (MITSUBA)
Serial Range
1000001 - 9999999
Qty
Price
$4.04

Ref No
3
Part Number
98200-30500
Description
FUSE, BLADE (5A)
Serial Range
1002683 - 9999999
Qty
Price
$1.60